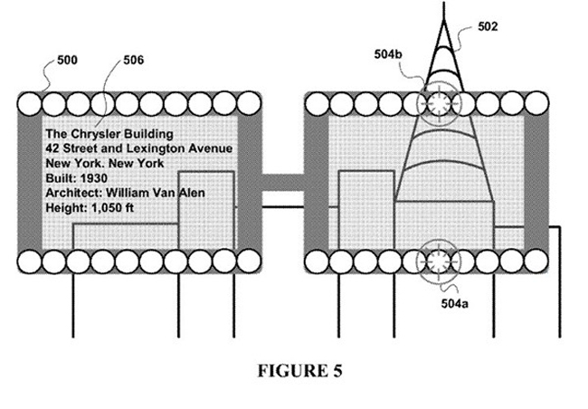
After going through the patent war over Android, Google is now being quick on the uptake with their snatching of patents towards their next big project; Project Glass. Recently, Google has submitted for a patent that allows the glasses to know what you are looking at and then provide neat little nuggets of information about what you’re seeing. Included in the filing is the notion of a light-up frame that would point you in the direction of something interesting. Hopefully you can turn it off otherwise be blinded as you walk around throughout the day.
Google also has some interesting uses for this patent when we are looking at a digital display. The Glasses could see the page you are reading and then fish for more information deeper in the website that you haven’t yet looked at; bringing up the most useful bits of info and showing it to you. All very interesting if it can be pulled off, but Google has the security of this patent down the road if they do get there.
Via: Engadget



